- 2 маленьких моторчика 1.5вольт (можно купить или снять со старых игрушок (см. фото).)
- 2 маленькие скрепки
- 2 большие скрепки
- 1 метр эл. провода
- 2 не больших SPDT переключателя (можно купить или снять например с старой компютерной мыши)
а также инструменты:
*паяльник + немного олова
*клейный пистолет и стержень клея к нему (клейный стержень можно расплавить просто паяльником, но рекоменд. это делать клейным пистолетом)
*кусачки (чтоб снять изоляцию)
а вот и все детали
Сборка:
1. режим эл. провод на 13 кусочков по 6см и снимаем с них изоляцию (с двух сторон) по 1 см.

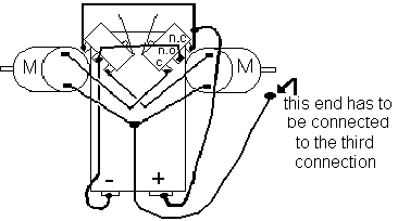
2. Припаеваем провода к каждому из компонентов (кроме батареек) см. рисунок.

припаеваем провод к бат. держателю (синий)(third connection)

3. Переверните держатель батареек и приклейте переключатели к нему "в форме V" (см. фото)

4. Приклейте 2 моторчика между переключателями так, чтобы сама ходовая часть моторчика касалась земли



5. Из большой скрепки и шарика делаем стабилизатор ( колесо, чтоб проще передвигатся по поверхности)

6. соединение

вот так всё это должно смотрется


7. берем 2 мал. скрепочки и делаем из них усы для жука

8. осторожно приклеиваем усы к переключателям (используйте немного клея для этого, чтоб не заклеить сам переключатель)

9. наматываем немного изоляции на ходовую часть моторчика (для лучшего сцепления)

10. Вставляем батарейки

и готово!)
Это не очень сложно. Сам недавно делал!!!
Прикол в том, что когда он дотрагивается до препятствия правым усиком, то провое колесо останавливается и он поварачивает влево, и наоборот. ( Объезжает препятствия )











